• 4

中華光世代/遠傳大寬頻固定制IP價格表

中華光世代/遠傳大寬頻固定制IP價格表
中華光世代/遠傳大寬頻固定制IP價格表
中華光世代/遠傳大寬頻固定制IP價格表
有在架站需求又不想太貴的可參考以上報價

更新:中華/遠傳沒有網路優先權,只有單純有配發固定IP可使用而已
2016-12-21 11:28 發佈
想價站還不如直接租虛擬主機OR VPS

一個月才一百多塊
xup6bjo45j4 wrote:
有在架站需求又不想太貴的可參考以上報價羞(^o^)...(恕刪)


打臉好腫唷....

gregji121 wrote:
想價站還不如直接租虛擬主機OR VPS
一個月才一百多塊...(恕刪)


同意+1

還不止這些呢....
租了虛擬主機 or VPS後,
還能掛 Cloudflare,有DDoS防火牆可擋400Tbps、全球節點(60ms以下)、免費SSL...
什麼都有一堆功能~
省下好幾百萬元....

lokuochin wrote:
打臉好腫唷.......(恕刪)

這麼便宜喔!
可是若是想架私人伺服器應該不錯用吧!^^
xup6bjo45j4 wrote:
這麼便宜喔!
可是若是想架私人伺服器應該不錯用吧!^^...(恕刪)


濫用資源設架私服相關用途網站 ..... 你會被BAN ...
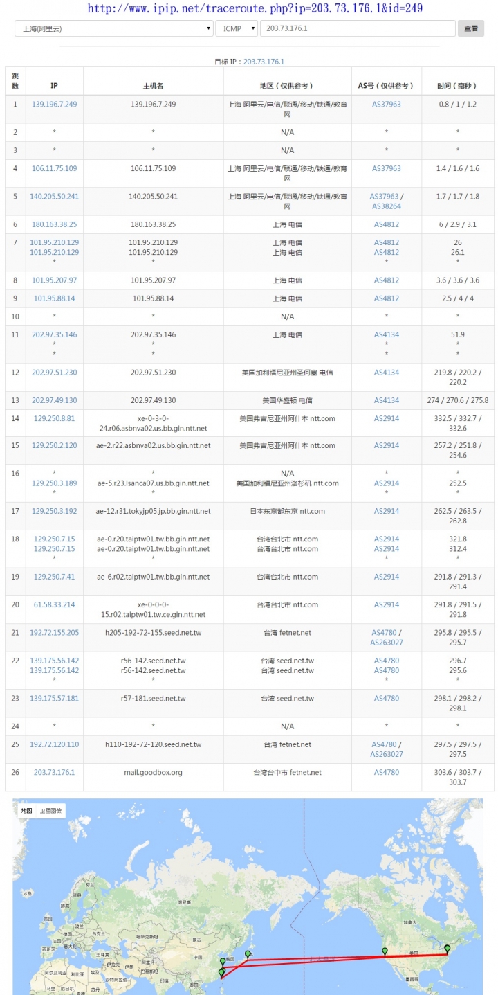
大推遠傳固定制
往來中國時順便帶你繞到美國和日本
別家沒這種㥑質服務的
http://www.ipip.net/traceroute.php?ip=203.73.176.1&id=249



昨日小築 http://dler.com
lokuochin wrote:
濫用資源設架私服相...(恕刪)

誤會了啦!
私服指的是討論區或其他網站,這在浮動IP是做不到架站的喔!^^

dler wrote:
大推遠傳固定制往來...(恕刪)

中華固定制也有繞路由的問題,
不然不會有人申辦300M/100M 固定二IP在抱怨繞路由問題吧!
遠傳大寬頻固定制IP 前帖都有試用討論 遠傳全被退貨
PING值高於中華固定制 最嚴重的是中國回台灣遠傳還會掉封包 遠傳全被退貨
xup6bjo45j4 wrote:
這麼便宜喔!可是若...(恕刪)


是很便宜阿

這年頭誰還在家裡架網站

電費都不夠繳了
架討論區或其他網站
去租虛擬主機也是可以
還不用自己在那搞一堆有的沒的
光一個被攻擊就可以玩死自己了= =
  • 4
內文搜尋
X
評分
評分
複製連結
Mobile01提醒您
您目前瀏覽的是行動版網頁
是否切換到電腦版網頁呢?