briareus wrote:
之前經過時隨手拍的,...(恕刪)
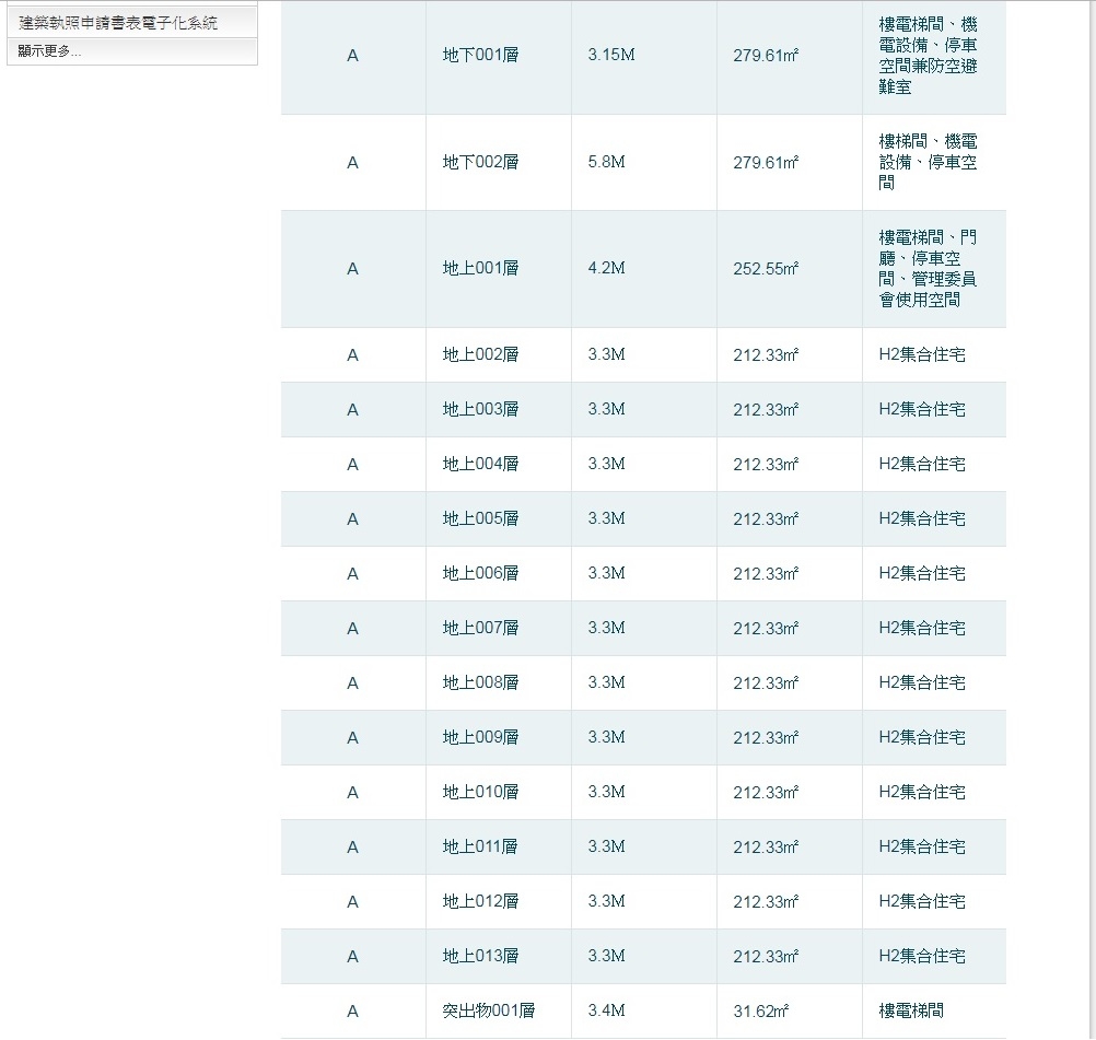
103中建字第00701號

地號共有五個,上圖是其中最大的一塊。
一般來說,取得使照前後會將所有的地號合併為一個。

基地才150坪左右,不大。
樓地板面積是1045坪左右,除以36戶,每戶大概是30坪上下。
我猜,會做均質的兩房設計。
當然,A棟做小三房(小型的三房,不是給小三的房子),B棟做小兩房,在銷售上也算好推。
不過,車位有21個,應該會是銷售上的抗性。
以這種小坪數的來說,近年在搭車位銷售上都不太容易。

從2F開始到13F,共12層面積都一樣,因此,外觀上應該沒有退縮。
加上戶數剛好是36戶,應該會做成一層三戶、整棟有三種坪數的規劃。
以上:)
briareus wrote:
大破大立大真的是...(恕刪)

藍色是雙和一品苑、紅色是將捷。
由於雙和一品苑離捷運站已經很遠了,所以,我覺得這兩個的區位差別不太大XDD
比較大的差異應該會是雙和一品苑後面的電塔跟溝渠。
我兩年多前的某個夏天有經過過,味道還滿重的。
但不太清楚是不是常常這樣。
我沒去過現場,所以沒辦法回答陽台的問題。
不過,陽台是降的,20坪的陽臺不會跟30坪的陽臺成等比例成長。
因此,坪數愈小,通常陽台的占比也會愈大、得房率也愈低。
基本上這是無解的難題。
但陽台太小也很難用就是。
我猜將捷這棟應該是不會有健身房之類的公共設施。
一樓只有75坪,扣兩個樓梯間、一隻電梯、接待大廳,應該就沒了。
這跟一品苑無法比。
一品苑地坪有近1200坪、快是將捷的8倍了。
原則上,想要享受多元的公共設施,就不能找這種小基地的建案。
將捷頂多在突2層放幾台健身器材吧。
我覺得將捷的價位、拿一品苑來比的話,
由於沒有溝渠跟電塔、再加上是小坪數的,均價應該可以+個2~3萬吧。
不過,安坑的將捷家和已經超過40萬,中和這邊如果只有42萬,
建商應該會覺得很矮油吧XDDD
大破大立 wrote:
喔!這些真的就是在...(恕刪)
記得我剛買一品苑
每天回家不用等電梯 沒人住 電梯很好叫
現在上下班都會遇到鄰居 入住率蠻高了
二週前遇到熟的仲介
說一品苑最後8戶
不知是真是假
不過電梯裡抄瓦斯的
以前要寫瓦斯度數的大概20-30戶
現在大概剩下20多戶沒有括號不用填
其他70多戶都有括號了
地下停車場也是
以前好多空位
現在沒空位了 朋友來都不能亂停了😭
我住低樓層 是從來沒聞過水溝臭味
不知高樓層會不會反而臭😂
房子算高架橋側邊45度
每天車聲不小 沒到不能接受
跟寧靜小巷比吵多了 但是主臥睡覺關窗
幾乎沒噪音
還有落塵問題 我覺得灰塵算大
不過房子很通風 很舒服
樓下溫泉冬天泡湯舒適
樓下泳池夏天戲水快樂
樓下健身房不錯環境舒適乾淨
房子很難十全十美
二千五百萬含車位65坪 我要知足點
景安捷運附近60坪都要3500-4000
我口袋不深啊😭
希望有朝一日能多存點
想去華城買個車庫別墅多吸芬多精



內文搜尋

X