Erichuangtw1980 wrote:
管委員的質詢,是不是...(恕刪)
管委員投贊成票又怎樣?
今天文林苑就是從基本上違反了都市更新條例,所以才會因為管委員的質詢而變成"審議中"
我不知道你的中文程度如何,文林苑"審議中"是代表樂揚可以硬來嗎?
"凍結"則是只營建署對文林苑的態度,若你不喜歡凍結,我也可以改用停擺、停頓,避之唯恐不及來形容。
這又關管立委甚麼事?
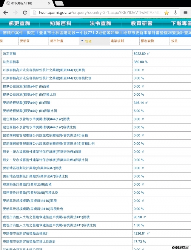
以下是公共利益的價值,請注意,都是0
提供公益設施(都更#44(1)Ⅱ)面積 0.00 ㎡
居住面積不及當地水準獎勵(都更#44(1)Ⅴ)面積 0.00 ㎡
協助開闢或管理維護公共設施或捐贈經費(容獎辦法#5)面積 0.00 ㎡
歷史、紀念或藝術性建築物保存維護(容獎辦法#6)面積 0.00 ㎡
更新地區規劃設計獎勵(容獎辦法#7)面積 0.00 ㎡
綠建築設計獎勵(容獎辦法#8)面積 0.00 ㎡
更新單元規模獎勵(容獎辦法#10)面積 0.00 ㎡
其他配合都市重大建設面積 0.00 ㎡


kuoyuan1 wrote:
管委員投贊成票又怎樣?
今天文林苑就是從基本上違反了都市更新條例,所以才會因為管委員的質詢而變成"審議中"
我不知道你的中文程度如何,文林苑"審議中"是代表樂揚可以硬來嗎?
DC10 wrote:
他不會裡你的,他只會選擇性的回對自己有利的文,這討論串從一開始他就是預設立場的倒向建商,從來就不是一個客觀中立的思維,也從來不是為國為民,更別說根本不在乎公理正義...(恕刪)

Erichuangtw1980 wrote:
和你們不同意見就叫做立場的倒向建商...(恕刪)




Erichuangtw1980 wrote:
請問紅字部分,營建署...(恕刪)

