小弟兩個月前,入手一台新車,煞車是AVID BB7碟煞!
從此就惡夢連連!!!
我的後煞車下坡時,從山上叫到山下,嚴重時連車架也會抖動...
第一個月在多次清潔校正磨合之下,宣告無解.
廠商也配合更換新品,問題就迎刃而解.
但是在經過一個禮拜之後....問題又發生了!!!
不知碟煞有雜音是正常的,還是原廠的來令片真的有問題.
請教各位前輩的 AVID BB7 是否有遇過相同的問題?
如何預防及排解,是否有特殊的清潔保養方法?
來令片也是正廠,碟盤大小為160mm
轉動輪胎時,目測碟盤並沒有變形
間距調整廠商前後輪都調在卡鉗中間,但前輪一直都正常沒有異音
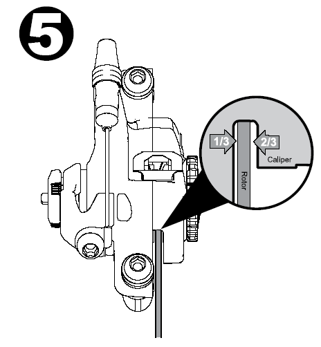
您po上的照片好像是機械碟煞
油壓碟煞的設定是否和機械碟煞一樣,需調靠外測1/3的地方呢?
另外卡鉗和碟盤是否需要清潔保養呢?
BB5單邊動作。
如果煞車本身沒問題,也有可能是身車共振。
這並非煞車系統或試車架有問題,而是天生犯沖。
群青的高空......朱色的殘照......
飛舞而降臨的...白青之王者....
紅色沙塵----
白色的...火焰,光輝的
內文搜尋
X































































































