-
雖然Sony已經發表了其EVIL相機 - NEX-3 / NEX-5並使用了全新的E-mount (有別於Alpha系列的A-mount),但其他相機大廠如Nikon、Canon等始終到目前為止也沒有推出類似的產品,但現在Nikon的Fans終於有望看見Nikon的全新EVIL相機了!
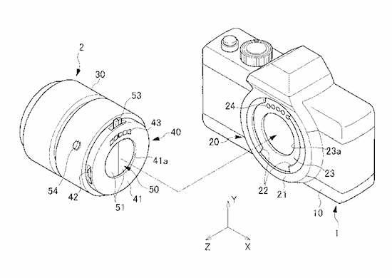
當然Nikon方面沒有正式公佈,但外國一些網站已經發現了Nikon正在注冊有關EVIL的專利,事關專利申請圖樣顯示了EVIL的大部份特徵,包括電子觀景器,但有一點十分有趣的是Nikon的EVIL竟然包含了一面反光鏡!從以下的專利申請圖看來,那面反光鏡並不是單反常有的棱鏡,而是電子觀景器的一部份。Nikon是想利用反光鏡解決電子觀景器訊號滯後的問題嗎?
![[傳聞] Nikon正在研發Evil相機?](http://attach.mobile01.com/attach/201008/mobile01-3f0f8cd3ede4b647bc4db35a94ea2923.png)
![[傳聞] Nikon正在研發Evil相機?](http://attach.mobile01.com/attach/201008/mobile01-9f161321bc9298cb34ae9cddd371d869.png)
![[傳聞] Nikon正在研發Evil相機?](http://attach.mobile01.com/attach/201008/mobile01-c27358c9fa00cb5923e35c435b4a304a.gif)
專利圖也有另一個特點 - Mount保護裝置,應該是當鏡頭除下時可以自動蓋上以保護機身內部。以下是Nikon的專利申請書英文譯本:
Patent Publication No.2010-161569
published 2010/07/22
filled 2009/01/07
Problems
At the time of lens desorption, useless thing invades the camera inside.
Conventional technology and problems
It make a protective cover.
A lens end may come in contact with the protective cover.
A patent of Nikon
A Imaging Box
Sealing up space
It is formed by protective cover and OLPF, image sensor.
Rubber and resin are used for a connection of protective cover and imaging box.
Rubber and the resin are form of ring.
It possesses a sensor detecting lens desorption.
At the time of lens desorption, protective cover is pushed inside.
The embodiment of the patent
EVF
It does not have a mechanical shutter(only use an electronic shutter).
另一段文字也可看出那個Mount的保護裝置:
“Heretofore, lens-interchangeable type cameras provided with a barrier that, in a state in which an interchangeable lens is not attached, closes off an aperture that is provided in a casing for allowing the passage of object light has been known”
![[傳聞] Nikon正在研發Evil相機?](http://attach.mobile01.com/attach/201008/mobile01-93af06acd38864bad930d7837275a4d2.jpg)
從以上文件看來,Nikon確實是要做一部帶有反光鏡的EVIL相機(注:一般EVIL是沒有反光鏡的)!Nikon的EVIL相機,真的令一眾Nikon fans期待!




























































































